產品分類
聯系我們
一種新型除懸浮物污水處理裝置,廣大的用戶朋友都想弄明白這個事情,中天恒遠環保設備有限公司小編李德馨認真總結整理了相關的內容知識,希望對您有所幫助。

一,除懸浮物污水處理裝置簡介
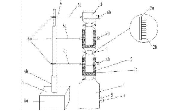
技術人員介紹,該除懸浮物污水處理裝置其結構包括大懸浮顆粒過濾倉、進水管、機械格柵、初沉池、二級接觸裝置、一級接觸裝置、污泵池、出水口、第二排污泵、曝氣機、排污泵、污水處理倉,污水處理倉內部設有初沉池、二級接觸裝置、一級接觸裝置、污泵池、出水口、第二排污泵、曝氣機與排污泵,排污泵與二級接觸裝置相連接,二級接觸裝置與一級接觸裝置平行連接。
二,除懸浮物污水處理裝置特色優勢
小編了解到,該除懸浮物污水處理裝置,污水處理倉上設有二級接觸裝置與一級接觸裝置,能實現二次接觸處理,能把污水中較小顆粒雜質過濾出來,提高污水純凈度。
小編寄語:
沒有人是一帆風順的,在做一件事情中總是充滿挑戰和艱難,不過這樣人生才更有意義,學習水處理知識也是如此,堅持努力,總有一天您會掌握的更好更全面。
一種新型除懸浮物污水處理裝置就介紹到這里了,感謝您閱讀本文,如果想了解更多,請持續關注我們的網站。