一種新型污水處理中的污水填料,廣大的用戶朋友都很想了解明白這個事情,中天恒遠環保設備有限公司小編李德馨認真總結整理了相關的內容知識,希望對您有所幫助。
小編整理總結了相關方面的知識及認真聽取了其他同事的說明,為您做以下的介紹。
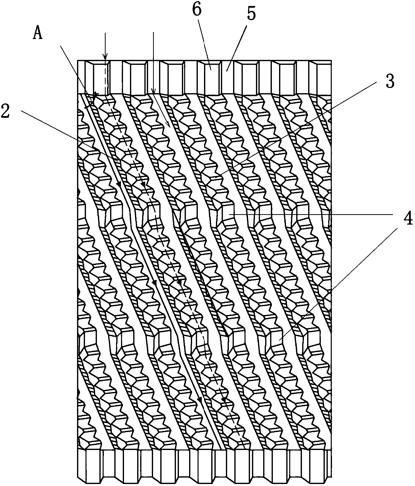
一,污水處理中的污水填料簡介:
技術人員介紹,該填料由許多片波紋薄板組合而成;單片波紋薄板上端和下端間隔設有一個個截面為梯形的凸臺,中間段是一列列平行排列的傾斜的階梯,每列傾斜的階梯由一排排平行排列的凸出的臺階即小段波紋構成;相鄰兩片波紋薄板反向靠疊,在相鄰兩片波紋薄板之間形成了若干個蜂窩狀凹渠,整個波紋填料模塊由交錯排列的一個個蜂窩狀凹渠構成,每個蜂窩狀凹渠內部又有許多傾斜的臺階。該填料結構設計獨特,有利于大幅提高比表面積,掛膜率高;形成的蜂窩狀凹渠使得水流能夠重新分布,改變其流動方向,從而使水流在橫截面上分布更為均勻;同時,水流在填料內部形成交叉流動混合,為廢水和生物體的接觸創造了良好的水力條件。

二,污水處理中的污水填料特色優勢:
小編了解到,該新型的污水處理填料的結構設計獨特,單片波紋薄板的波紋紋路在縱向上呈一列列傾斜的階梯狀排布,由若干片波紋薄板兩兩反向靠疊粘結組合而成的整個波紋填料模塊的整體外形為長方體,模塊內部為蜂窩狀(內部有許多交錯的蜂窩狀凹渠,每個蜂窩狀凹渠內部又有許多傾斜的臺階),有利于大幅提高比表面積,掛膜率高;形成的蜂窩狀凹渠使得水流能夠重新分布,改變其流動方向,從而使水流在橫截面上分布更為均勻;同時,水流在填料內部形成交叉流動混合,為廢水和生物體的接觸創造了良好的水力條件。
該新型的污水處理填料,屬于接觸氧化法工藝的懸掛式填料。與生物接觸氧化法的普通懸掛式填料相比,該填料不存在堵塞、斷裂的問題,并且使用壽命長。填料為高分子生物材質,掛膜速度快,并且對水量適應性強。填料呈蜂窩狀,除可用于生物掛膜外,還可作為斜板沉淀的載體,使得曝氣池和沉淀池可以合建在一起,減少了二沉池,使得整個污水處理系統更加緊湊,節約了空間及成本。
小編點評:
學習水處理相關的知識要持續,很多人往往是三分鐘熱度,這樣只能了解一部分,堅持下來學習,才能掌握更多。
一種新型污水處理中的污水填料就介紹到這里了,感謝您閱讀本文,如果想了解更多,請持續關注我們的網站。