產品分類
聯系我們
一種新型的污水微生物過濾器,廣大的朋友都很想弄清楚這個問題,中天恒遠水處理設備公司小編李德馨認真總結整理了相關的內容知識,希望對您有所幫助。
小編整理總結了相關方面的知識及認真聽取了其他同事的說明,為您做以下的介紹。

一種新型的污水微生物過濾器簡介
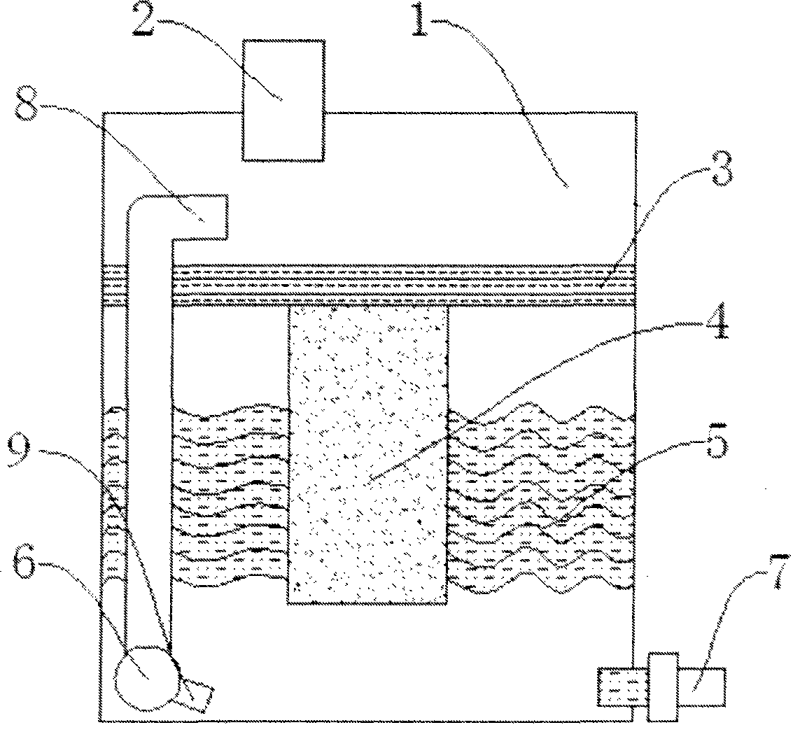
技術人員介紹,該微生物過濾器包括活化桶、入水管、顆粒過濾層、活性炭過濾器、滲透層、循環泵和出水口;所述入水管安裝在活化桶頂端;所述顆粒過濾層安置在活化桶內部上端;所述活性炭過濾器位于顆粒過濾層下方;所述滲透層對稱安置在活性炭過濾器兩側;所述循環泵安裝在活化桶內部邊側;所述出水口置于活化桶底部邊側。

一種新型的污水微生物過濾器優勢
小編了解到,該微生物過濾器結構簡單、使用方便、過濾效果明顯,循環泵能夠很好地反復過濾污水微生物;顆粒過濾層、活性炭過濾器和滲透層可以多重對污水微生物進行過濾,而開關閥可以控制出水。
小編點評:
了解更多污水處理,水處理方面的知識,需要不斷學習,不斷積累,小編一直認真努力更新相關的知識,希望對您有所幫助。
一種新型的污水微生物過濾器就介紹到這里了,感謝您閱讀本文,如果想了解更多,請持續關注我們的網站。