污泥濃縮和脫水一體機,其包括機架、污泥濃縮裝置和污泥脫水裝置,污泥濃縮裝置包括隔離筒;以及由多個刮泥板、驅動機構、導流元件形成的濃縮單元,隔離筒劃分為透水區和擠壓區,透水區設有一組濃縮單元;擠壓區至少設有兩組濃縮單元,其中每相鄰的兩組濃縮單元的多個刮泥板之間相向轉動形成擠壓力,并將擠壓后的污泥導向出泥口設置;污泥脫水裝置包括擠壓滾筒、用于驅動擠壓滾筒繞水平軸心轉動的驅動機構,擠壓滾筒與出泥口之間形成具有污泥出口的擠壓區域,且在擠壓滾筒的筒壁上設有供水通過的濾水孔或濾水組件。本發明簡化結構,降低成本,便于運輸;同時確保出泥的穩定性,并將處理后污泥的含固率提升至20%以上。

1.一種污泥濃縮和脫水一體機,其包括機架、設置在所述機架上的污泥濃縮裝置和污泥脫水裝置;
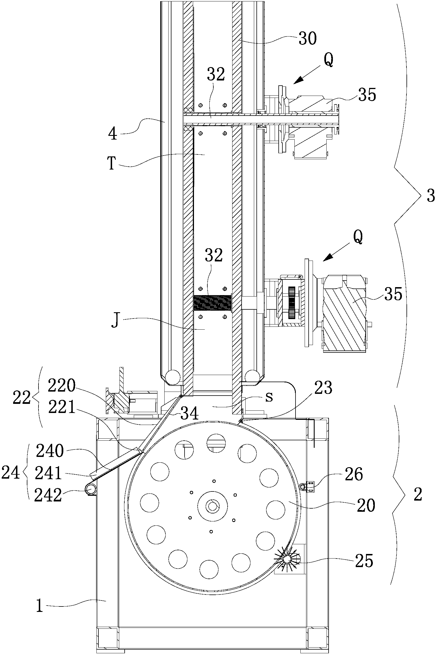
所述的污泥濃縮裝置包括側壁上設有供水通過的濾水網孔的隔離筒、能夠繞水平軸線一起轉動設置的多個刮泥板、用于驅動所述多個刮泥板轉動的驅動機構、固定設置在各所述刮泥板上用于使污泥傾向于向隔離筒的中部靠攏的導流元件,其中多個所述刮泥板組成刮泥板組,所述刮泥板沿其長度方向延伸的一條邊與所述隔離筒的設有所述濾水網孔的內側壁接觸,所述隔離筒上部和下部分別設有用以通入待濃縮的污泥的入泥口和用以排出濃縮后的污泥的出泥口;
其特征在于:所述多個刮泥板、所述驅動機構及所述的導流元件形成了便于污泥濃縮且防止濾水網孔堵塞的濃縮單元,所述的隔離筒自上而下劃分為相連通的透水區和擠壓區,
其中所述透水區設有一組所述的濃縮單元;
所述的擠壓區至少設有兩組所述的濃縮單元,每相鄰的兩組所述的濃縮單元的所述多個刮泥板之間相向轉動形成擠壓力,并將擠壓后的污泥導向所述的出泥口設置,所述污泥濃縮裝置工作時,所述隔離筒固定不動,所述刮泥板轉動將所述濾水網孔處的污泥刮除;
所述的污泥脫水裝置包括位于所述的污泥濃縮裝置出泥口的下方且水平設置的擠壓滾筒、用于驅動所述擠壓滾筒繞水平軸心轉動的驅動機構,所述擠壓滾筒與所述出泥口之間形成具有污泥出口的擠壓區域,且在所述擠壓滾筒的筒壁上設有供水通過的濾水孔或濾水組件,當所述擠壓滾筒轉動時,位于擠壓區域內的污泥被擠壓,被擠壓的污泥在所述擠壓滾筒的轉動下導向所述污泥出口,被擠壓的水自所述擠壓區域外的所述擠壓滾筒筒壁上的濾水孔或濾水組件排出。
2.根據權利要求1所述的污泥濃縮和脫水一體機,其特征在于:在所述的隔離筒的透水區和擠壓區上分別設有繞自身軸線能夠轉動且相互平行設置的轉軸,所述轉軸與所述驅動機構連接或一體設置,且位于所述擠壓區內多根轉軸并排設置。
3.根據權利要求2所述的污泥濃縮和脫水一體機,其特征在于:所述的刮泥板固定在所述轉軸上,且構成每個所述刮泥板組的多個所述刮泥板沿著所述轉軸的徑向均勻分布。
4.根據權利要求1所述的污泥濃縮和脫水一體機,其特征在于:每相鄰的兩組所述的濃縮單元的所述多個刮泥板之間相咬合設置。
5.根據權利要求1所述的污泥濃縮和脫水一體機,其特征在于:所述的污泥脫水裝置還包括設置在所述出泥口的一側用于將殘留在所述擠壓滾筒表面的污泥刮除并自所述出口排出的刮泥組件、以及用于將所述擠壓滾筒與所述出泥口的其他側邊密封連接防止未經過擠壓的污泥排出的封板組件,其中所述的出泥口、所述擠壓滾筒的上部、以及所述刮泥組件和所述封板組件形成所述的擠壓區域,所述的出口位于所述刮泥組件上。
6.根據權利要求5所述的污泥濃縮和脫水一體機,其特征在于:所述的刮泥組件包括自所述出泥口的一側向下并向外傾斜延伸的延伸板、自所述延伸板的下端垂直向所述擠壓滾筒上部相對側延伸并與所述擠壓滾筒表面接觸的刮板,其中所述出口位于所述刮板的中部,且所述的出口沿著所述擠壓滾筒的長度方向延伸設置。
7.根據權利要求6所述的污泥濃縮和脫水一體機,其特征在于:在所述出口處還設有便于將污泥導出一體機外的導向料槽,其中所述的導向料槽包括上端部抵觸在所述刮板外側并位于所述出口下方的承接底板、位于所述承接底板兩側的側圍板、以及用將所述承接底板的下端部連接在所述機架上的連接部,所述的承接底板與水平面的夾角為15~60°。
8.根據權利要求1所述的污泥濃縮和脫水一體機,其特征在于:所述的污泥脫水裝置還包括設置所述機架上并能夠伸入所述濾水組件或濾水孔內將殘留的污泥去除的毛刷組件、以及用于對所述毛刷組件和所述濾水組件或濾水孔進行沖刷的噴淋機構,其中噴淋機構位于所述毛刷組件的上方,所述的毛刷組件包括與所述擠壓滾筒平行設置的安裝軸、沿著所述安裝軸的長度方向均勻分布在所述安裝軸四周的刷毛、用于驅動所述安裝軸繞著軸心轉動的驅動機構,所述的安裝軸與所述擠壓滾筒相向轉動。
9.根據權利要求1所述的污泥濃縮和脫水一體機,其特征在于:所述隔離筒為方形筒,該方形筒的底部敞開形成所述的出泥口,所述的擠壓滾筒為單層或多層結構;所述的擠壓滾筒沿著所述出泥口的長度方向延伸,且在所述擠壓滾筒的內部設有加強板;所述的濾水孔為長形的縫隙孔。
10.根據權利要求1所述的污泥濃縮和脫水一體機,其特征在于:所述污泥濃縮裝置還包括設置在所述的擠壓區域內、能夠繞著水平設置地樞軸轉動地調節出泥量的出泥擋門,其中所述的樞軸與所述擠壓滾筒的延伸方向一致,并位于所述出泥口的一側。
說明書
一種污泥濃縮和脫水一體機
技術領域
本發明涉及一種污泥濃縮和脫水一體機。
背景技術
隨著社會經濟的發展與城市化進程的加快,城鎮污水處理廠及伴隨產生的污泥數量快速增加。根據有關材料,2010年我國污水處理廠產生的污泥達到3億噸。由于污泥在脫水必須進行生化、絮凝處理,且脫水后污泥含有大量的細胞水和附著水,目前,幾乎所有的污水處理廠現有的設備與技術只能將污泥的含水率降低到80%左右,如要達到焚燒的要求-污泥的含水率低于50%要花費很高的成本,因此我國幾乎所有污水處理廠往往只能將污泥以填埋和堆放為主,從而引發了嚴重的環境污染問題。
現有技術中,污泥處理裝置通常包括獨立設置的污泥濃縮裝置和脫水機,進行污泥處理時,先利用污泥濃縮裝置對較稀的污泥進行濃縮,濃縮后水含量降低的污泥再進入脫水機脫水。這種污泥處理方式,一是設備投資大,設備占用空間大,能耗高,運行成本高;二是,已有的污泥濃縮裝置容易發生堵塞,從而工作效率低,運行成本高,且對于污泥的濃縮效果有限。近年來,也有人報道濃縮脫水一體機,但已有的濃縮脫水一體機的處理效果與傳統濃縮、脫水分體的裝置相比處理效果明顯降低,而且結構復雜,使用成本高。
例如CN101759343A公開了一種污泥處理中的濃縮裝置,其包括罐體和位于罐體內的隔離筒,隔離筒將罐體分隔為內外同軸的排水腔和濃縮區,其中隔離筒的上部是圓形過濾網筒、下部為圓錐形底,罐體上安裝有攪拌機,濃縮區內安裝有攪拌漿并有上端的經絮凝的污水進口和下端的濃縮泥漿出口,其中,隔離筒安裝在攪拌機轉軸上,攪拌槳由槳葉經過槳葉支撐板安裝在隔離筒上,排水腔位于隔離筒內,濃縮區位于隔離筒外,同時,在濃縮區內還固定設有刮泥板,該刮泥板位于槳葉與過濾網筒之間。該種結構的濃縮裝置的濃縮原理是:污泥自污水進入濃縮區內,在濃縮區內攪拌槳對污泥進行攪拌,同時隔離筒旋轉,在這過程中,污泥中的水通過隔離筒的過濾網筒的網孔進入到排水腔內與泥分離。該裝置借由刮板與隔離筒的過濾網筒的外壁之間的摩擦刮去過濾網筒上附著的污泥。顯然,由于上述的刮泥板是固定不動的,過濾網筒需要旋轉一周后才能刮除一次粘附在過濾網筒外周的污泥,因此過濾網筒的網孔很容易被污泥所堵塞,因網孔被堵塞的原因,濃縮效率將顯著降低,至比較后無法繼續濃縮,如此,不僅影響了工作效率,濃縮效果也不理想。而且該裝置要帶動隔離筒及其內的水進行轉動并還設攪拌漿,運行成本和能耗較高。
針對上述的不足,本申請人在2015.1.29提出新的申請,CN104591520A,其主要公開了一種污泥濃縮脫水一體機,其包括機架、設置在機架上的污泥濃縮裝置和污泥脫水裝置,污泥濃縮裝置包括側壁上設有供水通過的濾水網孔的隔離筒,隔離筒直立設置,隔離筒上部和下部分別設有用以通入待濃縮的污泥的入口和用以排出濃縮后的污泥出口,污泥出口與污泥脫水裝置相連通,污泥濃縮裝置還包括刮泥板組,刮泥板組包括能夠繞水平軸線一起轉動設置的多個刮泥板,每個刮泥板沿其長度方向延伸的一條邊與隔離筒的設有濾水網孔的內側壁接觸,污泥濃縮裝置還包括用于驅動多個刮泥板轉動的驅動機構、固定設置在各刮泥板上用于使污泥傾向于向隔離筒的中部靠攏的導流元件,污泥濃縮裝置工作時,隔離筒固定不動,刮泥板轉動將濾水網孔處的污泥刮除;
污泥脫水裝置為電滲透污泥脫水裝置,污泥濃縮脫水一體機還包括用于向所述污泥脫水裝置提供動力的驅動裝置以及電源,污泥脫水裝置具體包括固定于機架上的環形上導軌、固定于所述機架上且位于環形上導軌下方的環形下導軌、沿著環形下導軌的軌跡能夠移動的多個移動網板、沿著環形上導軌的軌跡能夠移動的多個擠壓板,環形上導軌和環形下導軌的中心線均沿水平方向延伸,環形上導軌的下部為直線軌跡,環形下導軌的上部為直線軌跡,移動網板和擠壓板均由導電材料制成,且二者分別與電源的陰極和陽極接通;位于環形上導軌的直線軌跡上的多個擠壓板與位于環形下導軌的直線軌跡上的多個移動網板之間形成有污泥擠壓通道,該污泥擠壓通道自一端向著另一端的方向的高度逐漸變低,所述污泥濃縮裝置位于環形下導軌的側上方,隔離筒的污泥出口位于移動網板的上方,且污泥從所述污泥出口排出的方向與移動網板在直線軌跡上的移動方向相同。
然而,在實際操作中,其存在了以下不足:
1)、通過電滲透和擠壓將污泥進行脫水處理,使得處理后的污泥可直接焚燒或填埋,因此,生產線很長,體積龐大,設備運行成本較高;
2)、整體設備的移動或運輸,也十分的困難,無法滿足不同使用者的需求,靈活性不足;
3)、濃縮裝置的出泥穩定性差(排出泥的含固率不均勻),不利于下一步脫水的操作;同時,濃縮的效果也不夠顯著。
發明內容
本發明所要解決的技術問題是克服現有技術的不足,提供一種改進的污泥濃縮和脫水一體機。
為解決以上技術問題,本發明采取如下技術方案:
一種污泥濃縮和脫水一體機,其包括機架、設置在機架上的污泥濃縮裝置和污泥脫水裝置,該污泥濃縮裝置包括側壁上設有供水通過的濾水網孔的隔離筒、能夠繞水平軸線一起轉動設置的多個刮泥板、用于驅動多個刮泥板轉動的驅動機構、固定設置在各刮泥板上用于使污泥傾向于向隔離筒的中部靠攏的導流元件,其中多個刮泥板組成刮泥板組,刮泥板沿其長度方向延伸的一條邊與隔離筒的設有濾水網孔的內側壁接觸,隔離筒上部和下部分別設有用以通入待濃縮的污泥的入泥口和用以排出濃縮后的污泥的出泥口,且豎直設置,特別是,多個刮泥板、驅動機構及導流元件形成了便于污泥濃縮且防止濾水網孔堵塞的濃縮單元,該隔離筒自上而下劃分為相連通的透水區和擠壓區,該透水區設有一組濃縮單元;擠壓區至少設有兩組濃縮單元,每相鄰的兩組濃縮單元的多個刮泥板之間相向轉動形成擠壓力,并將擠壓后的污泥導向出泥口設置,污泥濃縮裝置工作時,隔離筒固定不動,刮泥板轉動將濾水網孔處的污泥刮除;污泥脫水裝置包括位于污泥濃縮裝置出泥口的下方且水平設置的擠壓滾筒、用于驅動擠壓滾筒繞水平軸心轉動的驅動機構,擠壓滾筒與出泥口之間形成具有污泥出口的擠壓區域,且在擠壓滾筒的筒壁上設有供水通過的濾水孔或濾水組件,當擠壓滾筒轉動時,位于擠壓區域內的污泥被擠壓,被擠壓的污泥在擠壓滾筒的轉動下導向污泥出口,被擠壓的水自擠壓區域外的擠壓滾筒筒壁上的濾水孔或濾水組件排出。
優選地,在隔離筒的透水區和擠壓區上分別設有繞自身軸線能夠轉動且相互平行設置的轉軸,該轉軸與驅動機構連接或一體設置,且位于擠壓區內多根轉軸并排設置。
優選地,刮泥板固定在轉軸上,且構成每個刮泥板組的多個刮泥板沿著轉軸的徑向均勻分布。
根據本發明的一個具體實施和優選方面,每相鄰的兩組濃縮單元的多個刮泥板之間相咬合設置。使得污泥擠壓的力度更大,從而提高濃縮效果。
優選地,刮泥板所在平面、與刮泥板接觸的隔離筒的內側壁二者之間形成8~20°的夾角。形成這樣的夾角不僅利于提高刮泥效果,且還可以減少轉動過程刮泥板與隔離筒之間的摩擦力,減少刮泥板及隔離筒的磨損,同時也利于節能。
優選地,導流元件包括多個導流板,多個導流板沿著刮泥板的長度方向分布且相鄰二個導流板間隔開,各所述導流板所在平面、與所述刮泥板接觸的所述的隔離筒的內側壁二者之間形成45~75°的夾角。導流板的該設置可以有效地將污泥中的絮凝團遠離濾水網,便于污泥中的水流向隔離筒的側壁而經濾水網孔排出,從而提高了濃縮效率和濃縮效果。
根據本發明的又一個具體實施和優選方面,隔離筒為方形筒,濾水網孔設置在隔離筒的相對二側壁上,每組濃縮單元具有一個刮泥板組,且每個刮泥板組的刮泥板分別與隔離筒的相對二側壁接觸,相對二側壁之間的距離為120~300cm,導流板的遠離刮泥板的端邊與隔離筒的內側壁之間的距離為60~150cm。根據發明人的大量試驗研究發現,在其他結構相同時,采用本發明的方形隔離筒較傳統的圓形隔離筒濃縮效果明顯提高。
優選地,位于兩側的每個組刮泥板組上的導流板相互錯開;濾水網孔沿著隔離筒的整個高度分布或只沿隔離筒的一段高度分布。
優選地,污泥脫水裝置還包括設置在出泥口的一側用于將殘留在擠壓滾筒表面的污泥刮除并自出口排出的刮泥組件、以及用于將擠壓滾筒與出泥口的其他側邊密封連接防止未經過擠壓的污泥排出的封板組件,其中出泥口、擠壓滾筒的上部、以及刮泥組件和封板組件形成擠壓區域,出口位于刮泥組件上。
進一步的,刮泥組件包括自出泥口的一側向下并向外傾斜延伸的延伸板、自延伸板的下端垂直向擠壓滾筒上部相對側延伸并與擠壓滾筒表面接觸的刮板,其中出口位于刮板的中部,且出口沿著擠壓滾筒的長度方向延伸設置。
根據本發明的又一個具體實施和優選方面,在出口處還設有便于將污泥導出一體機外的導向料槽,其中導向料槽包括上端部抵觸在刮板外側并位于出口(檢測區域)下方的承接底板、位于承接底板兩側的側圍板、以及用將承接底板的下端部連接在機架上的連接部,該承接底板與水平面的夾角為15~60°。其中30°為比較佳。
優選地,污泥脫水裝置還包括設置機架上并能夠伸入濾水組件或濾水孔內將殘留的污泥去除的毛刷組件、以及用于對毛刷組件和濾水組件或濾水孔進行沖刷的噴淋機構,其中噴淋機構位于毛刷組件的上方,毛刷組件包括與擠壓滾筒平行設置的安裝軸、沿著安裝軸的長度方向均勻分布在安裝軸四周的刷毛、用于驅動安裝軸繞著軸心轉動的驅動機構,其中安裝軸與擠壓滾筒相向轉動。
此外,污泥濃縮裝置還包括設置在擠壓區域內、能夠繞著水平設置地樞軸轉動地調節出泥量的出泥擋門,其中樞軸與擠壓滾筒的延伸方向一致,并位于出泥口的一側。該出泥擋門可以用于控制出泥量和出泥的含水量。
同時,該方形筒的底部敞開形成所述的出泥口,擠壓滾筒為單層或多層結構;擠壓滾筒沿著出泥口的長度方向延伸,且在擠壓滾筒的內部設有加強板;濾水孔為長形的縫隙孔;在擠壓滾筒兩端部設有端蓋;在端蓋上開設有通孔(減輕自重)。
由于以上技術方案的實施,本發明與現有技術相比具有如下優點:
本發明一方面簡化了污泥脫水裝置的結構,方便脫水的操作,降低成本,也便于運輸;另一方面通過多個濃縮單元的設置,確保出泥的穩定性,并與擠壓滾筒的配合,將處理后污泥的含固率提升至20%以上。

污水處理設備聯系方式:
銷售熱線:010-8022-5898
手機號碼:186-1009-4262
污水處理欄目網址:http://m.ah12355.cn/ws/