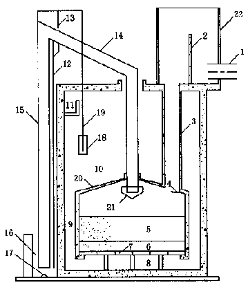
??改造后的無閥濾池構造見圖1。過濾時的工作情況:渾水經進水總管1流入進水分配箱22,由進水分配堰2進入豎井進水渠3,經消能板4消能后,均勻地分布在濾料層5上,通過承托層6、小阻力配水系統7進入底部配水空間8。濾后水從底部配水空間經連通區9上升到沖洗水箱 10。當水箱水位達到出水渠11的溢流堰頂后,溢入渠內,比較后流入清水池。反沖洗時的工作情況:濾池運行中,濾層阻力逐漸增加,虹吸上升管14中的水位相應逐漸升高。當水位達到虹吸輔助管12管口時,水自該管中落下,并通過抽氣管13不斷將虹吸下降管15中的空氣帶走,使虹吸管中形成真空。當虹吸上升管中的水越過虹吸管頂端與虹吸下降管中上升的水柱相匯時,兩股水流匯成一股,沖出虹吸下降管管口,把虹吸管中殘存的空氣全部帶走,形成連續的虹吸流。這時,水箱中的水自下而上對濾料進行反沖洗。
圖1 改造后的重力式無閥濾池結構?

1 進水總管 2 進水分配堰 3 豎井進水渠 4 消能板 5 濾料層 6 承托層 7 小阻力配水系統 8 配水空間 9 連通區 10 沖洗水箱 11 出水渠 12 虹吸輔助管 13 抽氣管 14 虹吸上升管 15 虹吸下降管 16 排水渠 17 反沖洗調節器 18 虹吸破壞斗 19 虹吸破壞?管 20 傘形頂蓋 21 水封斗 22 進水分配箱
??在沖洗過程中,水箱內水位逐漸下降。當水位下降到虹吸破壞斗18時,虹吸破壞管19把小斗中的水吸完。管口與大氣相通,虹吸破壞,沖洗結束,過濾重新開始。?
2 技術改造要點及其分析
??(1)改變渾水進水方式,取消原無閥濾池的進水U型存水彎和進水三通,增加豎井進水渠3 。豎井進水渠在池子內部連接濾池的進水分配箱和傘形頂蓋。濾池進水分配箱中的渾水直接 由豎井進水渠進入錐形罩體內部。給水所中原有160m3/h的重力式無閥濾池是按國家標準 圖建造的,濾池在進水過程中夾進的氣體,一部分可上逸并通過排水虹吸管出口端排出池外 ,一部分將進入濾池并在傘形頂蓋下積聚且受壓【污水處理設備】縮。在濾池過濾階段,受壓縮的氣體會時斷 時續地膨脹并將虹吸管中的水頂出池外,影響正常過濾;在濾池反沖洗階段,受壓縮的氣體 會使排水虹吸管虹吸破壞不徹底,造成濾池連續反沖洗。這兩種現象在原有的重力式無閥濾 池運行中時有發生,影響給水所的正常生產。目前,解決這種現象采取的措施是:在進水管 上設置進水U型存水彎或在適當位置設置氣水分離器。前者(國家標準圖中采用的)較方便但 解決措施不徹底,后者需增加設備。為了保證進水系統不產生夾氣運行現象,考慮以下幾方 面:①防止濾池夾氣運行。原進水系統進水管中的流速較大(規范中的設計流速為0 .5~0.7m/s),空氣不易從水中分離;改造后的進水系統豎井進水渠中的流速較小(設計流速為0.1m/s左右),水流的夾氣作用減弱。②排除積聚在傘形頂蓋下面受壓縮的氣體。在過濾初期,虹吸管中氣體和進水系統進水過程中夾進的氣體積聚在傘形頂蓋下面,由于豎井進水渠中水流速度較小,氣體受壓縮后易于從豎井進水渠中分離。
??(2)改變進水分配箱。據報道[1]:標準圖中的無閥濾池產生夾氣運行的主要原 因是分配水箱中的配水堰與濾池進水管口兩次水位跌差造成的,當渾水進入濾池的進水管時,在管口又形成一個"跌水漏斗"形的水封,這種水封將空氣帶入進水管內并阻礙從管內分離出來的空氣排出。改造后的無閥濾池進水系統,由于豎井進水渠中的水流速度較小,管口水封作用減弱,所以作者認為進水分配水箱設計時僅需滿足水力條件。
??(3)改用單層均質石英砂濾料層,石英砂濾料層的粒徑為0.8~1.0mm,厚度為1100mm。根據設計規范,濾料層的設計膨脹率取30%,反沖洗強度取15L/(s·m2),設計濾速取13m/h(為了保證安全,設計濾速偏低,通過實際運行,作者認為濾速還可以提高一些)。承托層的級配及其厚度同標準圖。
??(4)在虹吸上升管管口安裝水封斗21。其主要作用是:①增加濾料層膨脹后與虹吸上升管管口之間的安全高度。②防止濾池反沖洗過程中跑砂。③便于濾池調試運行,防止調試過程中濾料流失。?
3 運行情況
??上饒鐵路東門給水所水源取自信江。原水濁度在10~700NTU之間,水力循環澄清池的出水濁度在8NTU以下,改造后的無閥濾池的出水濁度在3NTU以下。?運行過程中,改造后的無閥濾池與給水所原有的無閥濾池對比表明:改型后的濾池運行穩定,從未出現過夾氣運行現象,工作周期比原有的無閥濾池相對延長。
本文版權歸北京中天恒遠環保設備有限公司所有,主要從事污水處理設備、水處理設備生產及污水處理技術專項工作等,轉載請注明http://m.ah12355.cn出處。





